Van Bướm là loại van dùng để đóng hoặc mở dòng chảy trong đường ống bằng một lá van dạng đĩa được gắn cố định trên ty van ép chặt vào vòng đệm cao su được đúc sẵn trong thân van.
Van Bướm tay gạt là loại van bướm vận hành đóng mở bằng tay gạt, thường dùng cho các kích thước từ DN50 - DN150, vận hành đóng mở nhanh và dễ dàng thông qua lực vặn của con người theo nguyên tắc đòn bẩy


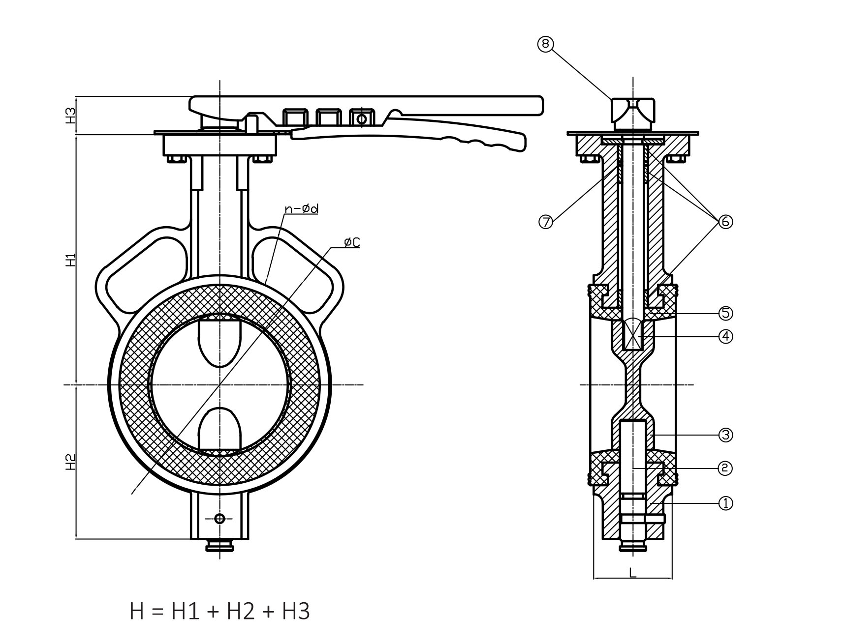
Cấu tạo:
Van bướm tay gạt được cấu tạo bởi 05 thành phần chính: Thân van, Vòng đệm, lá van (đĩa van), ty van và tay gạt.
- Thân van: được đúc từ gang cầu FCD450, hai mặt được phủ bởi lớp sơn epoxy cao cấp với độ dày ≥300 μm.
- Vòng đệm: Sản xuất từ cao su EPDM độ bền cao, được đúc sẵn cố định vào thân van, phù hợp với tiêu chuẩn nước sạch. Khả năng đàn hồi của vòng đệm là yếu tố làm tăng độ kín của van.
- Lá van: dạng đĩa tròn được sản xuất từ Inox CF8/CF8M, phù hợp với cả môi trường nước sạch và nước thải.
- Ty van: sản xuất từ Inox 304/316/420, gồm hai phần trên và dưới được gắn cố định vào lá van đối xứng nhau theo chiều thẳng đứng.
- Tay gạt: được sản xuất từ thép không rỉ, gắn cố định vào thân trên của van bằng bu lông và đai ốc, bên dưới có đĩa răng bằng inox giúp cố định tay gạt sau khi đóng mở.

Nguyên lý hoạt động:
- Khi van được đóng kín (góc mở lá van 0°) lá van sẽ ngăn chặn hoàn toàn dòng chảy trong đường ống và khi van được mở hoàn toàn (góc mở lá van 90°) lá van sẽ nằm song song với dòng chảy, lưu lượng dòng chảy trong đường ống là lớn nhất.
- Ngoài ra chúng ta có thể mở lá van theo các góc mở khác nhau để điều tiết lưu lượng dòng chảy tuy nhiên nhà sản xuất khuyến cáo việc mở lá van dưới 90° sẽ làm giảm tuổi thọ của van.


Ưu điểm:
- Vận hành đóng mở nhanh bằng tay gạt chỉ thông qua lực vặn của tay người.
- Van được sản xuất từ gang cầu FCD450, Inox CF8/CF8M, cao su EPDM cho độ bền cao, chống rỉ sét, an toàn cho nguồn nước sạch.
- Giá thành rẻ, trọng lượng van nhẹ, thiết kế gọn, có thể lắp đặt theo nhiều hướng, ít tốn diện tích khi lắp đặt.

Lưu ý khi lắp đặt:
Van bướm tay gạt được lắp đặt vào hệ thống dạng kẹp nên khi lắp đặt cần lưu ý một số điểm sau:
- Mở lá van bướm ở góc mở khoảng 1/4 trước khi lắp đặt để tránh biến dạng vòng đệm cao su khi siết quá chặt, có thể gây kẹt lá van hoặc rò rỉ nước.
- Khoảng cách giữa hai mặt bích phải vừa đủ để lắp đặt van, tránh bị biến dạng vòng đệm.
- Không dùng miếng đệm giữa mặt bích và van.
- Kích thước mặt bích phải bằng kích thước van.
- Không hàn mặt bích gần van bướm đã lắp đặt.
- Van có thể lắp linh động theo phương thẳng đứng hoặc phương ngang tùy nhu cầu sử dụng.

